Skip to main content
search
Our History

Decades of Legacy & Innovation

What began as a quest to improve municipal odor control has grown into a multi-industry ozone powerhouse. With validated research, patented technologies, and strategic expansion, GOVAPEX continues to lead the next era of sustainable oxidation solutions.

Early Innovations

Pioneering the Use of Ozone for Odor Control

Early Innovations

Pioneering the Use of Ozone for Odor Control

1990's

The Foundation of a New Approach

In the 1990s, Darrel Resch, a leading innovator in atomization technology, recognized inefficiencies in how municipalities managed odor control in wastewater treatment. Existing solutions relied on chemical scrubbing and inefficient aeration, leaving room for improvement. Determined to engineer a more effective and sustainable method, Resch began developing a new approach to ozone delivery and atomization, revolutionizing how odors were controlled at the source.

1993

First Patent: Precision Atomization for Environmental Applications

Awarded Patent 5,232,164 for a Precisely Adjustable Atomizer, a two-fluid nozzle designed for precision chemical dispersion. Initially used in mosquito control, this technology laid the groundwork for high-efficiency ozone application in odor control.

1994-1995

Advancements in Multi-Phase Atomization

Patent 5,337,962 was granted for an advanced pneumatic atomizer, capable of producing ultrafine dispersions for maximum surface coverage. By 1995, Resch introduced ozone as a third fluid, significantly increasing oxidation efficiency in odor management.

Breakthrough in Hydroxyl Radical Technology

Breakthrough in Hydroxyl Radical Technology

1998

Discovery of Hydroxyl Radical Generation

Collaborating with leading chemical engineers, Resch discovered that ozone atomization produced hydroxyl radicals—one of the most powerful oxidizers known. This discovery changed the landscape of municipal odor control, providing a chemical-free, highly effective solution.

2000

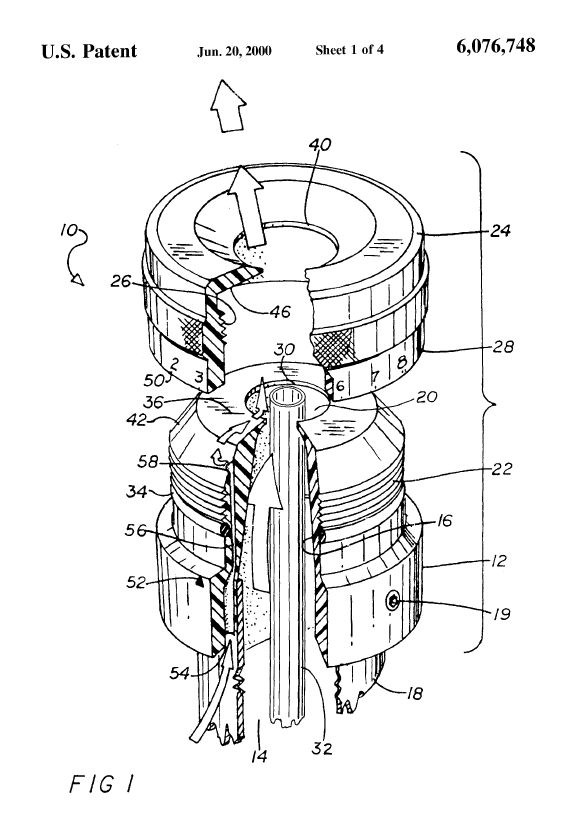
Patent for Ozone-Based Odor Control

Awarded Patent 6,076,748 for a revolutionary odor control atomizer, officially introducing ozone-based atomization into municipal wastewater treatment applications. This marked a major step toward modern odor control, eliminating the need for harsh chemical treatments.

Expansion & Industry Leadership

Expansion & Industry Leadership

2002

The Birth of Vapex™ Environmental Technologies

Darrel Resch founded Vapex™ Environmental Technologies, LLC, focusing on advanced odor control solutions for wastewater treatment. Developed The Sentinel™, a multi-gas analyzer, optimizing wet scrubber efficiency and hydrogen sulfide detection.

2005

Product Line Expansion

Launched the OZ670 Fogging System, integrating ozone atomization for odor elimination and improved air quality control.

2011

Patented Disinfection Cloud Technology

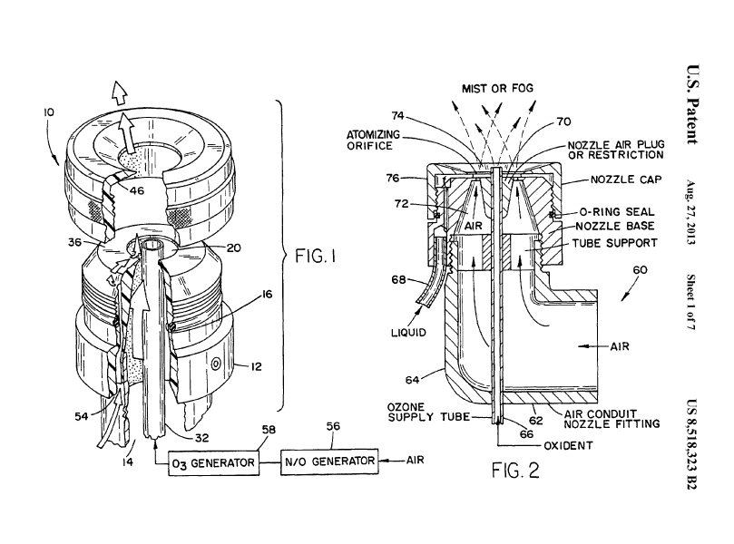
Secured Patent 8,029,726 for an ozone-based disinfecting cloud system, broadening the company’s applications beyond wastewater treatment into food and surface sanitation.

2012

Independent Validation of Hydroxyl Radical Technology

A University of Central Florida study confirmed that Vapex™’s patented ozone atomization technology effectively generated hydroxyl radicals, a breakthrough that was later published in Ozone: Science and Engineering.

2013-2015

Advanced Oxidation & Automation Patents

Additional patents awarded for oxidizing vapor-phase substrates and automated odor control systems, reinforcing Vapex™’s role as a pioneer in oxidation-based environmental solutions.

Strategic Growth & Formation of GOVAPEX™

Strategic Growth & Formation of GOVAPEX™

2016

Acquisition by Guardian Manufacturing

Vapex™ was acquired by Guardian Manufacturing, a leading provider of process automation and ozone generation systems. This acquisition integrated Vapex’s wastewater solutions with Guardian’s industrial ozone process technologies, expanding capabilities into food & beverage processing and industrial disinfection.

2024

Formation of GOVAPEX™

In July 2024, Vapex™ Environmental Technologies merged with Guardian™ Ozone, forming GOVAPEX™. This strategic consolidation combined decades of expertise in oxidation technology, allowing for expansion into multiple industries, including:

  • Municipal Water & Wastewater Treatment (odor control, FOG management)
  • Food & Beverage Processing (seafood, bottled water, surface sanitation)
  • Industrial Water Treatment
GOVAPEX™ Today

Engineering the Future of H2S Technology

Today, GOVAPEX continues to engineer advanced, air-cooled hydroxyl radical solutions that set new standards for performance, sustainability, and efficiency. Our commitment to innovation, engineering excellence, and long-term partnerships drives us to:

1

Develop next-generation oxidation solutions that solve modern environmental challenges.

2

Reduce environmental impact through sustainable, energy-efficient ozone applications.

3

Enhance public health & safety by providing chemical-free disinfection and air purification technologies.

Why Choose GOVAPEX™?

Proven Results, Unmatched Service

Next Steps

Talk to a Water Treatment Specialist

Connect with your local GOVAPEX representative today to size the right system for your application.

Privacy Overview

This website uses cookies so that we can provide you with the best user experience possible. Cookie information is stored in your browser and performs functions such as recognising you when you return to our website and helping our team to understand which sections of the website you find most interesting and useful.